Apple undersöker ett sätt att använda en avtagbar nyckel från ett MacBook Pro-tangentbord som en precisionsmus. Idén med att använda en avtagbar nyckel som mus är inte menad som en ersättning för styrplattor. Istället erbjuds det som ett alternativ till att bära ett separat tillbehör med en dator.
Avtagbara MacBook-nycklar kan användas som en mus
Idag beviljade U.S. Patent and Trademark Office patentnr 11,275,451, till Apple som täcker en "deployerbar nyckelmus." Patentansökan föreslår att ett vanligt tangentbord, som ett på en MacBook Pro, kan komma med en speciell nyckel som är avtagbar och kan fungera som en mus.
"Den avtagbara nyckeln kan ha en positionssensor", säger patentansökan, "[så den] kan användas som en datorpekenhet... Den avtagbara nyckelstrukturen kan därför tillåta bekväm, portabel och exakt pekare för ett datorinmatningssystem."
Läs mer:Apple undersöker automatisk Shazam-funktion för AirPods, headset – Patent

"Under de efterföljande åren har datormusen genomgått en rad innovationer inklusive tillägget av en höger- och vänsterklicksknapp, ett rullhjul, en optisk sensor, en trackball-sensor, en lasersensor och trådlös kommunikation till värddatorn", fortsätter det. "I vissa fall drar bärbara datorer som bärbara datorer och surfplattor nytta av att använda en perifer musinmatningsenhet", säger Apple. "Men då belastas användaren med att bära den separata musen med datorn, och den separata enheten kan vara redundant när datorn redan har inbyggda pekdon."
Syftet med denna löstagbara nyckel är inte att ersätta styrplattan. Istället skulle det vara ett alternativ till användares förfogande som kan behöva mer kontroll än vad en styrplatta traditionellt tillåter.
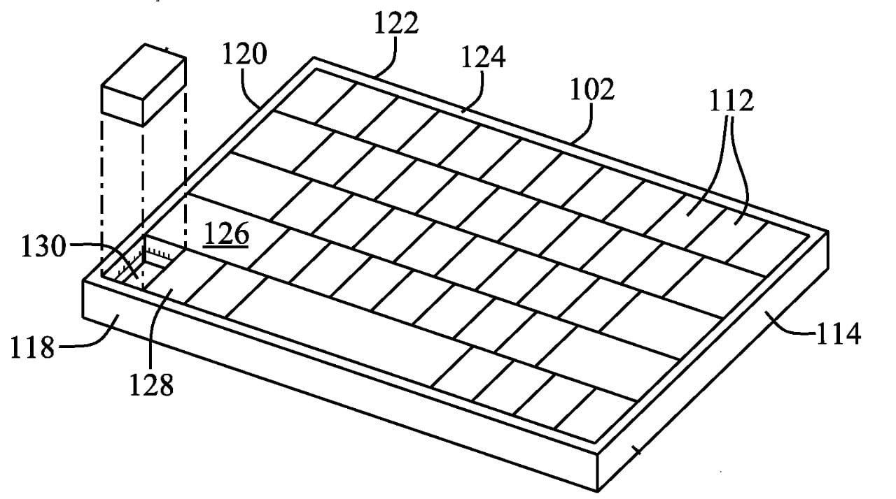
Patentillustrationerna visar två sätt att ta bort en nyckel för att användas som en mus. En är en enkel nyckel som lossar och en annan visar en sektion av nycklar som bildar musen. "En mus har vanligtvis en ergonomisk form för att passa bekvämt i handen", säger applikationen när den belyser hur enheter har förändrats under åren. "Vilket är en faktor som har hållit sin storlek relativt stabil."
Precis som med andra Apple-patentfiler är det viktigt att notera att företaget lämnar in många ansökningar varje vecka, så vi vet inte säkert om denna teknik kommer att implementeras i en framtida Apple-enhet.
Läs mer:
- I framtiden kan Apple Mac komma in i Magic Keyboard – Patent
- Apple Glass kan användas för att komma åt olika profiler och erbjuda en sekretessfunktion – Patent
- Apple Glass kan ha näthinneprojektor för att visa bilder i användarnas pupiller – Patent
- AirPods kan upptäcka användarnas rörelser och position under Apple Fitness+-pass – Patent
- Apple skulle kunna ersätta MacBook metallfodral med ett av glas eller keramik – Patent
- Apples patent avslöjar en helt glasdesign för framtida iPhone, iPad och MacBook
