Apple kanske överväger att lägga till en kamera till nästa generations Apple Watches. Detta kommer dock bara att vara möjligt om enhetens bärbarhet inte påverkas.
Ligger framtiden för Apple Watches i kameran?
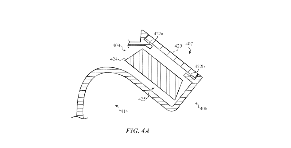
Enligt apatentansökan, föreslår Apple att lägga till ett litet utsprång på toppen av klockan för att passa kameran. Designen liknar den för den befintliga armbandskameran, men Apple undersöker sätt att lägga till kameran utan att göra klockan skrymmande eller obekväm att bära.
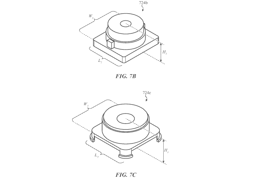
Den föreslagna kameran kommer att ha en hög kvalitet på upp till 4K och 60 bilder per sekund eller en stillbildskamera med upp till 12MP. Apple avvisar komponenter av låg kvalitet, eftersom de "kanske inte uppfyller en användares kvalitetsförväntningar." Kameran är avsedd för olika ändamål, som ansiktsidentifiering, fingeravtrycksavkänning, pulsmätning och fotografering.

Patentansökan krediteras fem uppfinnare, inklusive Christopher M. Warner, som tidigare har arbetat med muskelavkännande Apple Watch-band. Företaget undersöker sätt att integrera kameran i klockan utan att påverka dess andra komponenter, såsom displayen, batteriet och kretsen. Dessutom bör kamerans utskjutande del inte störa bandöppningens geometri för att tillåta användare att fästa och ta bort remmen.
Rekommenderad läsning:Det ryktas att Apple Car har ett integrerat operativsystem som liknar Tesla
Apples primära angelägenhet är att lägga till nya funktioner till sina produkter utan att påverka användarupplevelsen. Det är osäkert när kameran kommer att införlivas i nästa generations Apple Watches, men företaget undersöker olika alternativ. Apple kan komma att öka klockans storlek för att passa kameran eller utforska andra innovativa lösningar.

Företaget kan också lära sig av framgången med sin Apple Watch Ultra, som visade att användare är villiga att bära skrymmande enheter om de erbjuder en tydlig fördel. När det gäller Apple Watch Ultra är den förlängda batteritiden en betydande fördel. Apple kan utforska liknande fördelar med sitt nya kameratillägg, som möjligheten att låsa upp alla Apple-enheter via Face ID.
Precis som med andra patent som lämnats in av Apple är det viktigt att notera att Cupertino-teknikjätten lämnar in många ansökningar om ny teknik varje vecka, så vi vet inte säkert om denna specifika teknik kommer att implementeras i en framtida Apple Watch.
Läs mer:
- Framtida Apple Watch kan ha färgskiftande band – Patent
