Apple avduket nylig sin første generasjons romlige datamaskin, Vision Pro. AR/VR-headsettet har et 3D-kamerasystem og høyttalere med støtte for romlig lyd for å bruke det tredimensjonalt utformede laminerte glasset som en optisk overflate for kameraene og sensorene som ser på verden. For sin avanserte teknologi vil Vision Pro selge for $3500.
Det ser imidlertid ut til at Apple jobber med måter å bygge en billigere Vision Pro eller hodemontert enhet med avtakbart tilbehør.
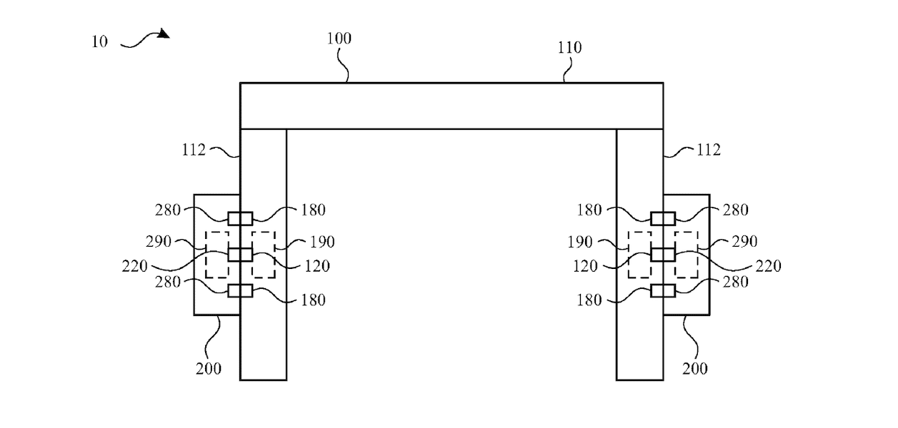
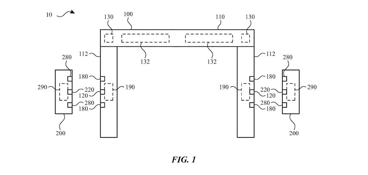
Et nytt patent gitt til Cupertino-teknologigiganten av U.S. Patent and Trademark Office avslører at selskapet utvikler avtakbart eller avtakbart tilbehør for hodemonterbare enheter med AR- eller mixed reality (AR/VR)-teknologier som kameraer, mikrofoner, høyttalere og mer.
Se også:Apple Vision Pro-batteripakken til hodesettet kan fjernes med SIM-utløserverktøy
Avtakbart tilbehør kan gjøre fremtidens Vision Pro rimeligere og mer tilpassbar
Deny arkivering, sett avÅpenbart Applebeskriver avtagbart tilbehør for fremtidige hodemonterte enheter som Vision Pro. Konseptet bak avtakbart tilbehør som skjermer, batterier, kameraer og mer er å tilby personalisering ved å la dem modifisere komponenter i henhold til deres behov eller preferanser og redusere enhetens pris.
Hodemonterte enheter, for eksempel hodemonterte skjermer, hodesett, visirer, smartgalsses, head-up-display, e.t.c. kan utføre en rekke funksjoner som bestemmes av komponentene (f.eks. sensorer, kretser og annen maskinvare) som følger med den bærbare enheten slik den er produsert.
Plass, kostnader og andre hensyn kan imidlertid begrense muligheten til å levere hver komponent som kan gi en ønsket funksjon. For eksempel kan forskjellige brukere ha forskjellige preferanser angående komponentene og funksjonene som leveres av en gitt hodemonterbar enhet.
- Noen brukere kan ønske visse funksjoner, for eksempel høyoppløselig skjerm og lang batterilevetid, mens andre brukere kan ønske andre funksjoner som mindre formfaktor.
- Videre kan en gitt bruker ønske forskjellige funksjoner til forskjellige tider. For eksempel kan en gitt bruker ønske skjerm med høy oppløsning hjemme og lang batterilevetid når de er utenfor hjemmet.


Ryktemøller hevder at Apple jobber med en billigere andregenerasjons Vision Pro og et AR Apple Glass. Hvis teknologigiganten lanserer en Vision Pro eller HMD med avtakbart tilbehør, er det sannsynlig at selskapet vil selge dem separat, noe som kanskje ikke ender opp med å bli billigere.
